Description
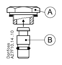
PM and ICS Blanking plug A+B, ICS 100 - 150
Product number:
RDB9038
| Product Group : | Danfoss ICM / ICS / ICLX Accessories |
|---|
General Information
| Product Group : | Danfoss ICM / ICS / ICLX Accessories |
|---|
Logistical Information
| Commodity Code : | 84819000 |
|---|---|
| Country Of Origin : | POL |
| EAN : | 5702422050445 |
| Gross Weight : | 0.12 kg |
| File name | Extension | Size |
|---|---|---|
| Technical Literature | 20.35 MB | |
| Brochures | 4.62 MB | |
| Brochures | 1.11 MB | |
| Brochures | 482.3 KB |